H42T/DRVZ靜音式止回閥/鑄鐵立式消聲止回閥
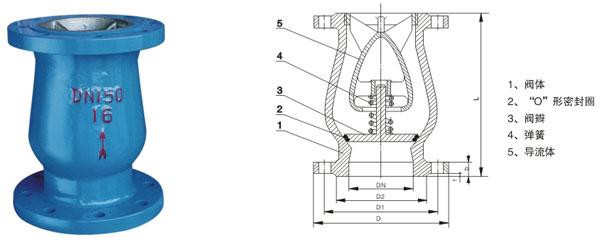
H42T/DRVZ型靜音止回閥由閥體、閥座、導流 體、閥瓣、軸瓦及彈簧等零件組成。內部流道采用流線型設計,壓力損失極小,閥瓣啟閉行程很短,停泵啟閉行程很短,停泵時可快速關閉,防止巨大的水錘聲,形 成靜音效果。
產品介紹
型號:H42T/DRVZ口徑(DN):50~500(mm)壓力(PN):1.0~2.5(Mpa)產品價格:電議日期:13-07-03品牌:上歐

產品概述
H42T/DRVZ型靜音止回閥由閥體、閥座、導流 體、閥瓣、軸瓦及彈簧等零件組成。內部流道采用流線型設計,壓力損失極小,閥瓣啟閉行程很短,停泵啟閉行程很短,停泵時可快速關閉,防止巨大的水錘聲,形 成靜音效果。主要用于給水、排水、消防、暖通系統,可安裝于水泵出口處,以防止介質倒流及水錘對泵的損壞。
主要技術參數
H42T/DRVZ靜音式止回閥主要技術參數 | |||
型號 | DRVZ/T-10 | DRVZ/T-16 | DRVZ/T-25Q |
公稱壓力 | PN1.0MPa | PN1.5MPa | PN2.5MPa |
公稱通徑 | DN50~DN300(mm) | ||
最高工作壓力 | 1.0MPa | 1.6MPa | 2.5MPa |
密封試驗壓力 | 1.1MPa | 1.76MPa | 2.75MPa |
殼體試驗壓務 | 1.5MPa | 2.4MPa | 3.75MPa |
主要零部件
H42T/DRVZ靜音式止回閥主要零部件 | |
零件名稱 | 材料 |
閥體、導流體 | 灰鑄鐵、球墨鑄鐵、鑄鋼 |
閥座、軸瓦、閥瓣、軸 | 青銅或鉻不銹鋼 |
彈簧 | 不銹鋼 |
主要連接尺寸

H42T/DRVZ靜音式止回閥主要連接尺寸 | |
公稱通徑(mm) | L(mm) |
50 | 120 |
65 | 150 |
80 | 180 |
100 | 240 |
125 | 300 |
150 | 350 |
200 | 450 |
250 | 500 |
300 | 550 |
350 | 575 |
400 | 600 |
450 | 650 |
500 | 700 |
安裝注意事項
止回閥的安裝應注意以下事頂
1、在管線中不要使止回閥承受重量,大型的止回閥應獨立支撐,使之不受管系產生的壓力的影響。
2、安裝時注意介質流動的方向應與閥體所票箭頭方向一致。
3、升降式垂直瓣止回閥應安裝在垂直管道上。
4、升降式水平瓣止回閥應安裝在水平管道上。
相關新聞
|
||||||||||||||||||||||||
![]() |
||||||||||||||||||||||||
| ||||||||||||||||||||||||









