ARVX微量排氣閥
ARVX微量排氣閥,在一般情況下,水中約含2VOL%的溶解空氣,在輸水睡過程中,這些空氣由水中不斷釋放出來,聚集在管線的高點處,形成空氣袋(AIR POCKET)。使輸水變得困難,系統輸水能力可因此下降約5-15%。此微量排氣閥主要功能就是排除這2VOL%的溶解空氣,并適合裝置與高層建筑,廠區內配管,小型泵站用以保護或改善系統的輸水效率及節約能源。
概述
ARVX微量排氣閥,在一般情況下,水中約含2VOL%的溶解空氣,在輸水睡過程中,這些空氣由水中不斷釋放出來,聚集在管線的高點處,形成空氣袋(AIR POCKET)。使輸水變得困難,系統輸水能力可因此下降約5-15%。此微量排氣閥主要功能就是排除這2VOL%的溶解空氣,并適合裝置與高層建筑,廠區內配管,小型泵站用以保護或改善系統的輸水效率及節約能源。
單桿式(SIMPLE LEVER TYPE)微量排氣閥,為一類似橢圓形閥體,內部所有零件包括浮球,杠桿,閥座等均為304不銹鋼,內部使用標準排氣孔1/6″,適合用于PN16工作壓力環境。介質溫度:0~80℃
AVAX型自動排氣閥主要應用于暖通空調系統,往往安裝在制高點或彎頭等處,以排除管道中多余氣體、提高管路使用效率及降低能耗。介質溫度:0~80℃
技術參數
公稱壓力:1.0~1.6MPa
適用介質:水、油等非腐蝕性液體
公稱通徑:10~25mm
試驗便準:GB/T 13927 API598
主要零件材料

名稱:閥蓋、閥體、浮球 杠桿、杠桿架、 塞頭
材質:球墨鑄鐵 304不銹鋼 合成橡膠
全銅
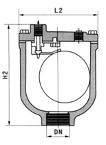
主要連接尺寸
| DN | 10(3/8″) | 15(1/2″) | 20(3/4″) | 25(1″) |
|---|---|---|---|---|
| L1 | 47 | 47 | 47 | 47 |
| H1 | 113 | 113 | 113 | 113 |
| L2 | 102 | 102 | 102 | 102 |
| H2 | 127 | 127 | 127 | 127 |
|
||||||||||||||||||||||||
![]() |
||||||||||||||||||||||||
| ||||||||||||||||||||||||










